Block Diagram Of 5 Volt Power Supply

Block Diagram Of 5 Volt Power Supply

  • Category : Power Supply
  • Post Date : January 27, 2026
Block Diagram Of 5 Volt Power Supply 9 out of 10 based on 10 ratings. 90 user reviews.

Block Diagram Of 5 Volt Power Supply

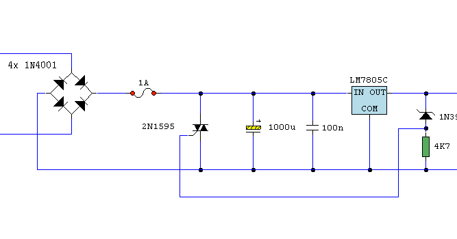
Transformerless 5 Volt Power Supply

5v Power Supply Using 7805 Voltage Regulator With Design U2013 National Circuits

Starship Modeler

Lm2674 5v Switch Mode Power Supply

Diagram Ingram 5v Regulated Power Supply Circuit Diagram

5 Volt Power Supply 7805 Circuit Diagram World

Constructing The 5 Volt Supply

5v Power Supply With Overvoltage Protection

Final Year Projects 5 Volt Regulated Power Supply Diagram Used In Microcontroller Based Projects

5v U0026 12v Dc Dual Output Power Supply Using Lm7805 U0026 Lm7812

Image Result For 5 Volt Regulated Dc Power Supply Circuit

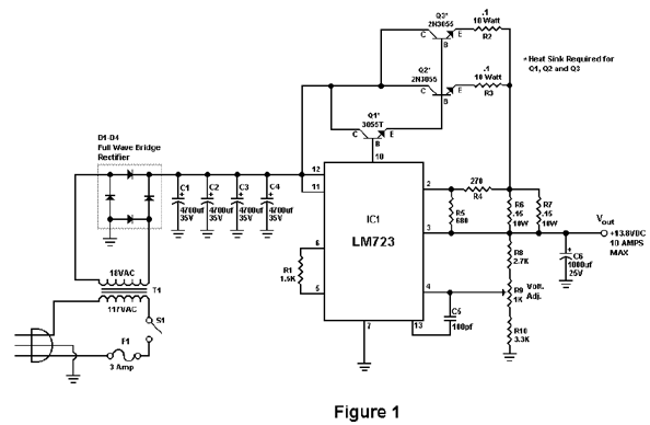
Schematic U0026 Wiring Diagram 10 Amp 13 8 Volt Power Supply Circuits Diagram

35 Volt Dual Power Supply

220v Ac To 3 3v Or 5v Dc Transformerless Power Supply

Transformerless 5

6

Voltage To Frequency Converter Nandu Com

Simple 5v Power Supply Using 7805 Ic From 230v Ac Mains Circuit Diagram

Lm338k 5 Amp Regulated Power Supply Circuit

5v Power Supply Circuit

Power Supply For Electronics Projects

12v Regulated Power Supply Circuit Diagram

12v U0026 5v Combo Power Supply

Power Supply For Electronics Projects

5 Volt Power Supply Using Lnk584dg Ic Circuit Diagram World

7805 5v 1a Regulated Power Supply With Overvoltage Protection Circuit

Transformerless Power Supply - 24vdc 120v Ac And 230v Ac

Power Supply 5v

10 Amp 13 8 Volt Power Supply Description And Circuit Diagram

September 2013

Need Help With Voltage Regulator Circuit That Uses 7805

Power Supply

Wiring Machine 24vdc Power Supply Circuit Diagram

Dual Power Supply Circuit

5 Volt Power Supply

How To Make Mp3 Player At Home How To Make Mp3 Player At Home

Regulated 5v Dc Power Supply Parameters Using Voltage Regulator Lm7805

Simple Designing 12v 5a Linear Power Supply

5 Volt Regulated Psu Featuring Overvoltage Protection

5 Volt Dc Power Supply Using Ltc3833 Regulator Circuit Diagram World

Transformerless Power Supply Circuit Diagram

5v 5a Power Supply Circuit

Simple 5v Dc Power Supply

5v Switching Power Supply Circuit Diagram World

12v To 5v Dc

Diagram Block Diagram Of 5 Volt Power Supply

  • Download Block Diagram Of 5 Volt Power Supply

    draw.io is free online diagram software for making flowcharts, process diagrams, org charts, UML, ER and network diagrams

    Open and edit diagrams online with Draw.io, a free diagram software supporting various formats and diagram types.

    Create a new diagram, or open an existing diagram in your new tab. To create a new diagram, enter a Diagram Name and click the location where you want to save the file.

    Create flowcharts and diagrams online with this easy to use software.

    Create and edit diagrams with draw.io, a free diagramming tool that integrates seamlessly with Office 365.

    Easily import diagrams from Lucidchart to diagrams.net or draw.io with this simple tool.

    Access and integrate Google Drive files with Draw.io using the Google Picker tool for seamless diagram creation.

    Clearing Cached version 29.3.4... OK Update Start App

    confEmbedUpload=For a better editing experience, please use the regular draw.io macro to insert a blank diagram, then from (File menu → Import From → Device...) select the file you want to upload and embed.

    If you enter personal information into a diagram and perform an action that requires us to send that diagram to a server for processing, your personal data may be processed on that server, but never stored.

    3 way switch,3 way switch wiring,3 way switch wiring diagram pdf,3 way wiring diagram,3way switch wiring diagram,4 prong dryer outlet wiring diagram,4 prong trailer wiring diagram,6 way trailer wiring diagram,7 pin trailer wiring diagram with brakes,7 pin wiring diagram,alternator wiring diagram,amp wiring diagram,automotive lighting,cable harness,chevrolet,diagram,dodge,doorbell wiring diagram,ecobee wiring diagram,electric motor,electrical connector,electrical wiring,electrical wiring diagram,ford,fuse,honeywell thermostat wiring diagram,ignition system,kenwood car stereo wiring diagram,light switch wiring diagram,lighting,motor wiring diagram,nest doorbell wiring diagram,nest hello wiring diagram,nest labs,nest thermostat,nest thermostat wiring diagram,phone connector,pin,pioneer wiring diagram,plug wiring diagram,pump,radio,radio wiring diagram,relay,relay wiring diagram,resistor,rj45 wiring diagram,schematic,semi-trailer truck,sensor,seven pin trailer wiring diagram,speaker wiring diagram,starter wiring diagram,stereo wiring diagram,stereophonic sound,strat wiring diagram,switch,switch wiring diagram,telecaster wiring diagram,thermostat wiring,thermostat wiring diagram,trailer brake controller,trailer plug wiring diagram,trailer wiring diagram,user guide,wire,wire diagram,wiring diagram,wiring diagram 3 way switch,wiring harness

    close