Ge Profile Arctica Wiring Diagram

Ge Profile Arctica Wiring Diagram

  • Category : Wiring Diagram
  • Post Date : January 26, 2026
Ge Profile Arctica Wiring Diagram 9 out of 10 based on 30 ratings. 30 user reviews.

Ge Profile Arctica Wiring Diagram

Ge Profile Arctica Pss

My Ge Profile Arctica Is Leaking Water From Underneath Front Right Have Checked The Ice Maker

My Ge Profile Arctica Model Psf26ngnabb Stoped Cooling Power Is On But No Cooling In Fridge Or

Ge Profile Arctica Side By Side - Fridge Is Freezing

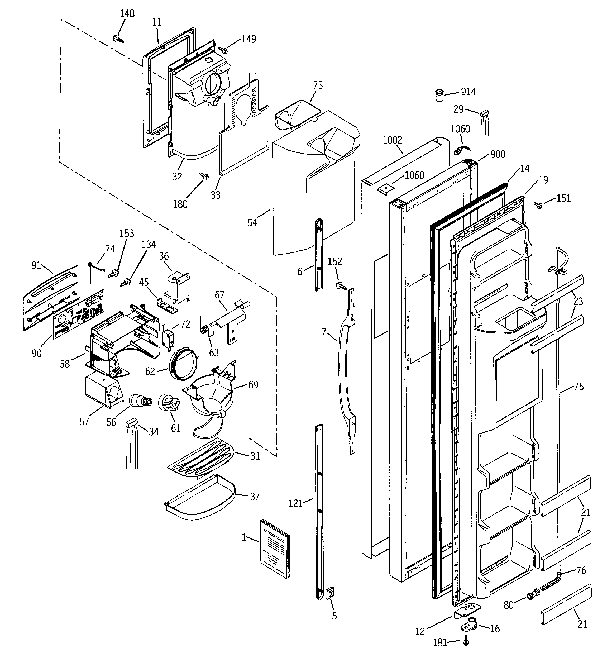
Ge Profile Arctica Refrigerator Parts Diagram

Ge Profile Arctica Refrigerator Parts Diagram

Fix Arctica Howling

Hello I Have A Ge Profile Arctica Side By Side Refrigerator Freezer

Ge Profile Spacemaker Microwave Parts

Lisa Blog Ge Arctica Light Bulb Replace

The Icemaker In My Ge Profile Refrigerator Model Arctica Is Not Working I Am Still Able To Get

I Have A Ge Profile Refrigerator The Freezer Side Appears To Be Fine But The Fridge Side Is

Ge Refrigerator M Series Parts

Freezer Door Diagram U0026 Parts List For Model Gss25sgmcbs Ge

Ge Refrigerator Wiring Diagram Defrost Heater Best Of

Ge Microwave Parts

Ge Refrigerator Wiring Schematic

General Electric Jgbp79aew1aa Gas Range Timer

Ge Electric Motors Wiring Diagrams

Ge Dishwasher Triton Xl Gsd6900j01bb I Have A Problem It U0026 39 S Not Cleaning Cup Etc On Upper Rack

Model Search

I Have A Ge Profile Fridge Model Dss25kgre The Fridge Was Freezing My Food A Repair Man Came

Ge Profile Arctica Not Cooling

Assembly View For Range Hood

Maytag Che9000bce Timer

Wiring Diagram For Ge Oven Element Files Stove Free Refrigerator Schematic Download Ice Maker

Ge Oven Schematic And Wiring Diagram

Ge Refrigerator Wiring Schematic

Problem With Ge Built In Microwave Jvm2052

I Have A Ge Profile Pdw9880j00ss Dishwasher I Recently Replaced The Touchpad After It Failed

Ge Profile Arctica U2122 26 6 Cu Ft Side

Model Search

Ge Profile Arctica Refrigerator Parts Diagram

Ge Profile Arctica Customstyle U2122 22 6 Cu Ft Stainless Side

I Have A Whirlpool Side By Side Refrigerator Model Gs6sha Conquest Several Weeks Back It

How To Repair Ge Profile Arctica Hotpoint Refrigerators Evaporator Motor Computer Board Replair

Ge Jvm1440wh01 Parts

Low

Ge Spacemaker Microwave Replacement Parts U2013 Bestmicrowave

31

Ge Microwave Part U2013 Bestmicrowave

Ge Refrigerator Wiring Schematic

Ge Spacemaker Microwave Parts Diagram U2013 Bestmicrowave

I Have A Ge Profile Tfh24pr Refrigerator It Is More Than10 Yrs Old Suddenly Getting Water On

Ge Spacemaker Laundry Parts Ge Spacemaker Washer Parts List

Blog Archives

Diagram Ge Profile Arctica Wiring Diagram

  • Download Ge Profile Arctica Wiring Diagram

    draw.io is free online diagram software for making flowcharts, process diagrams, org charts, UML, ER and network diagrams

    Open and edit diagrams online with Draw.io, a free diagram software supporting various formats and diagram types.

    Create a new diagram, or open an existing diagram in your new tab. To create a new diagram, enter a Diagram Name and click the location where you want to save the file.

    Create flowcharts and diagrams online with this easy to use software.

    Easily import diagrams from Lucidchart to diagrams.net or draw.io with this simple tool.

    Create and edit diagrams with draw.io, a free diagramming tool that integrates seamlessly with Office 365.

    Access and integrate Google Drive files with Draw.io using the Google Picker tool for seamless diagram creation.

    Clearing Cached version 29.3.4... OK Update Start App

    7.2 The Software will initiate transfers of data forming part of the Diagrams (“Diagram Data”) to services supplied by third parties when you expressly request conversion of Diagrams: a. to another supported file format; and b. to PDF format.

    "short_name": "draw.io", "description": "draw.io is a free diagram editor", "icons": [ { "src": ".. favicon.ico", "type": "image x icon", "sizes": "16x16 32x32" }, { "src": "icon 192.png", "type": "image png", "sizes": "192x192" }, { "src": "icon 512.png", "type": "image png", "sizes": "512x512" },

    3 way switch,3 way switch wiring,3 way switch wiring diagram pdf,3 way wiring diagram,3way switch wiring diagram,4 prong dryer outlet wiring diagram,4 prong trailer wiring diagram,6 way trailer wiring diagram,7 pin trailer wiring diagram with brakes,7 pin wiring diagram,alternator wiring diagram,amp wiring diagram,automotive lighting,cable harness,chevrolet,diagram,dodge,doorbell wiring diagram,ecobee wiring diagram,electric motor,electrical connector,electrical wiring,electrical wiring diagram,ford,fuse,honeywell thermostat wiring diagram,ignition system,kenwood car stereo wiring diagram,light switch wiring diagram,lighting,motor wiring diagram,nest doorbell wiring diagram,nest hello wiring diagram,nest labs,nest thermostat,nest thermostat wiring diagram,phone connector,pin,pioneer wiring diagram,plug wiring diagram,pump,radio,radio wiring diagram,relay,relay wiring diagram,resistor,rj45 wiring diagram,schematic,semi-trailer truck,sensor,seven pin trailer wiring diagram,speaker wiring diagram,starter wiring diagram,stereo wiring diagram,stereophonic sound,strat wiring diagram,switch,switch wiring diagram,telecaster wiring diagram,thermostat wiring,thermostat wiring diagram,trailer brake controller,trailer plug wiring diagram,trailer wiring diagram,user guide,wire,wire diagram,wiring diagram,wiring diagram 3 way switch,wiring harness

    close