Jacinto 6 Block Diagram

Jacinto 6 Block Diagram

  • Category : Block Diagram
  • Post Date : January 26, 2026
Jacinto 6 Block Diagram 9 out of 10 based on 40 ratings. 70 user reviews.

Jacinto 6 Block Diagram

Hp Envy Sleekbook 6 Schematic Compal Qau30 La

The Asrock X399 Phantom Gaming 6 Motherboard Review 250

User Manual For Spartan

Nxp I Mx 6ull System On Module Imx6ull

Arduino Based Gas Leakage Detection Using Mq6 Gas Sensor

4 6 Microcontroller U0026 Bluetooth

Chapter 6

Sparkpunk Hookup Guide

Nxp Freescale I Mx 6 Based Arm Computer Module

4 1 6 Analog To Digital Converter Berkeley Fisher

Te0630 Overview - Te0630 Spartan-6 Module

Invensense U2122 Announces World U0026 39 S First 6

Ztex Releases Spartan 6 Fpga Board Usb

Solved Block Diagram Analysis And Interpretation Activity

Tutorial 6 Advanced Modeling And Simulation

Unit 6 Analog I O And Process Control Reference Digilentinc

Teardown Inside The Tp

Vpx6

Cubieboard6 Development Board Powered By Actions Semi S500

Clevo Schematics U2013 Laptop Schematic

Die Photos And Analysis Of The Revolutionary 8008

Cypress Psoc 6 Iot Mcu Is On The Way

6 Valve Vhf Fm Pulse Counting Fm Tuner Using Safe 25volt

2

Iphone 6s Diagram Comp Schematic

Unboxing The Esomimx6

Edge Spartan 6 Fpga Development Board

Edge Spartan 6 Fpga Development Board

Imx6 Som

2n2 6 Block Diagrams

Arm

Dime

Txe

Solved Activity 10 6 Block Diagram Analysis And Interpret

Not Getting Oil To All Rockers

Amd U0026 39 S 6

Solved Activity 10 6 Block Diagram Analysis And Interpret

Apple U0026 39 S A8 Soc Analyzed The Iphone 6 Chip Is A 2

Wildstar A5 Conduction Cooled For Openvpx 6u

Block Diagram Reduction Using Matlab

Lm2576 Pdf - Buck Converter Regulator

Buy Phone Diagram Collection Book Today

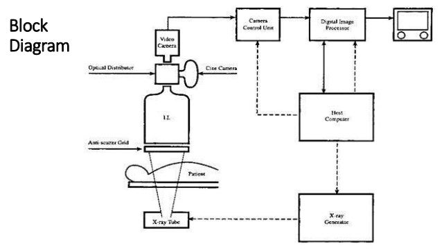
Biplane Cath Lab

Psoc 6 Wifi

Blue Sea Fuse Block For Anl Fuses

Electromagnetic Blood Flow Meter And Its Advantages

Table Of Contents

Block Diagram

Solved Block Diagram Analysis And Interpretation Activity

Arm6 - Microarchitectures - Arm

X6 500 Msps Adc Two 500 Msps Dac And Virtex

N6qw Ssb Cw Transceiver Architecture

6 Block Diagram For Massive Mimo Combining System 27

Egr Block Off Bypass

Vpx6

Ic Nexus Sbc3100 Rockchip Rk3399 Sbc Supports Variable Dc

Nxp To Demo System For Autonomous Vehicle Advancement

Cy8ckit

Supermicro X10dax Intel C612 Workstation Motherboard Review

Diagram Jacinto 6 Block Diagram

  • Download Jacinto 6 Block Diagram

    draw.io is free online diagram software for making flowcharts, process diagrams, org charts, UML, ER and network diagrams

    Open and edit diagrams online with Draw.io, a free diagram software supporting various formats and diagram types.

    Create a new diagram, or open an existing diagram in your new tab. To create a new diagram, enter a Diagram Name and click the location where you want to save the file.

    Create flowcharts and diagrams online with this easy to use software.

    Easily import diagrams from Lucidchart to diagrams.net or draw.io with this simple tool.

    Create and edit diagrams with draw.io, a free diagramming tool that integrates seamlessly with Office 365.

    app.diagrams.net

    Access and integrate Google Drive files with Draw.io using the Google Picker tool for seamless diagram creation.

    Clearing Cached version 29.3.4... OK Update Start App

    7.2 The Software will initiate transfers of data forming part of the Diagrams (“Diagram Data”) to services supplied by third parties when you expressly request conversion of Diagrams: a. to another supported file format; and b. to PDF format.

    3 way switch,3 way switch wiring,3 way switch wiring diagram pdf,3 way wiring diagram,3way switch wiring diagram,4 prong dryer outlet wiring diagram,4 prong trailer wiring diagram,6 way trailer wiring diagram,7 pin trailer wiring diagram with brakes,7 pin wiring diagram,alternator wiring diagram,amp wiring diagram,automotive lighting,cable harness,chevrolet,diagram,dodge,doorbell wiring diagram,ecobee wiring diagram,electric motor,electrical connector,electrical wiring,electrical wiring diagram,ford,fuse,honeywell thermostat wiring diagram,ignition system,kenwood car stereo wiring diagram,light switch wiring diagram,lighting,motor wiring diagram,nest doorbell wiring diagram,nest hello wiring diagram,nest labs,nest thermostat,nest thermostat wiring diagram,phone connector,pin,pioneer wiring diagram,plug wiring diagram,pump,radio,radio wiring diagram,relay,relay wiring diagram,resistor,rj45 wiring diagram,schematic,semi-trailer truck,sensor,seven pin trailer wiring diagram,speaker wiring diagram,starter wiring diagram,stereo wiring diagram,stereophonic sound,strat wiring diagram,switch,switch wiring diagram,telecaster wiring diagram,thermostat wiring,thermostat wiring diagram,trailer brake controller,trailer plug wiring diagram,trailer wiring diagram,user guide,wire,wire diagram,wiring diagram,wiring diagram 3 way switch,wiring harness

    close