Toyota Corona Computer Diagram

Toyota Corona Computer Diagram

  • Category : Computer Diagram
  • Post Date : January 26, 2026
Toyota Corona Computer Diagram 9 out of 10 based on 20 ratings. 20 user reviews.

Toyota Corona Computer Diagram

Repair

Repair

Repair

Repair

Toyota Corona Hazard Warning Flasher Flasher Turn Signal

Switch U0026 Relay U0026 Computer For 1975

Wiring Diagram For Toyota Tacoma 2001 Contents Power

Control Pc Board Diagram U0026 Parts List For Model

Smith Corona Sterling

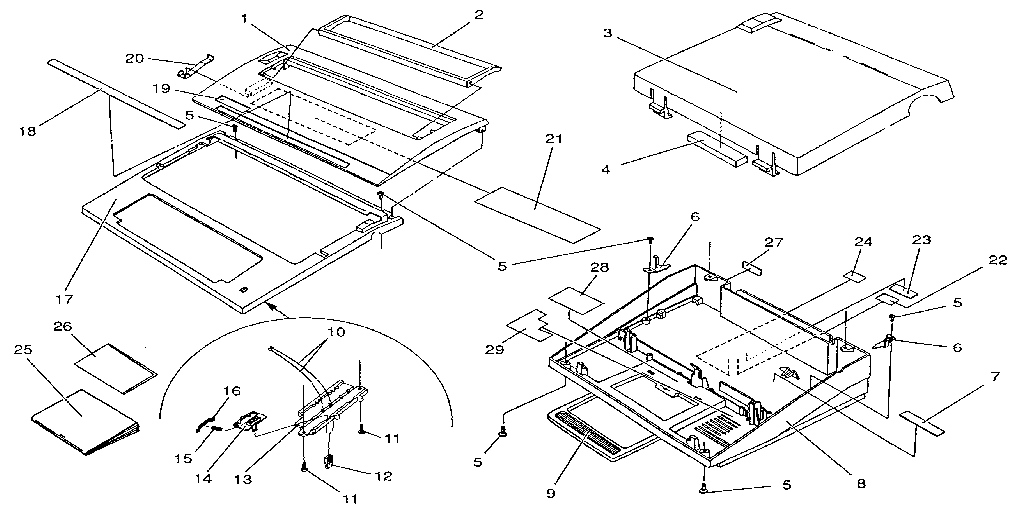
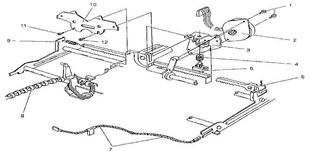
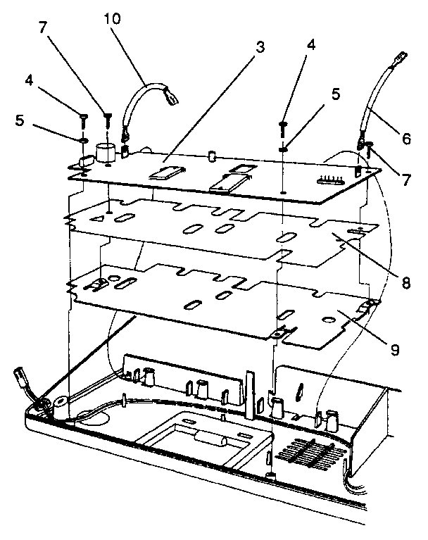
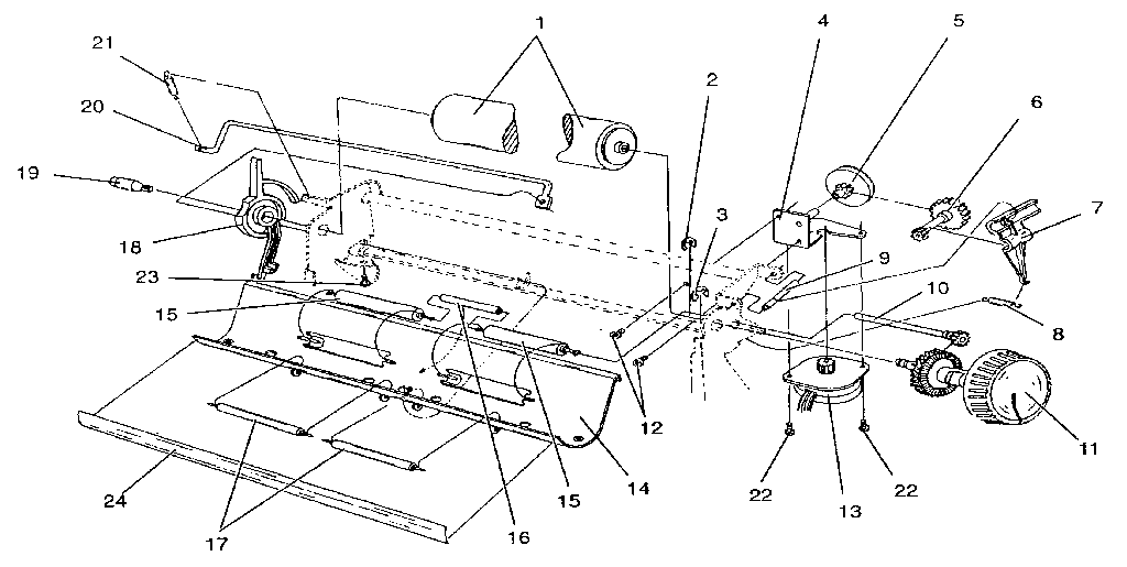
Smith Corona Typewriters Paper Feed Parts

Smith Corona Typewriter Ribbon Cassette U0026 Correct

Repair

Switch U0026 Relay U0026 Computer For 1996

The Characteristics Of Current Density Distribution During

Keyboard Assembly Diagram U0026 Parts List For Model

Smith Corona Typewriter Parts

301 Moved Permanently

8955020102

Celica Wiring Diagram 1984

Switch U0026 Relay U0026 Computer For 1987

The Characteristics Of Current Density Distribution During

Typewriter Pages Typewriter Info

Schematic Diagram Of Corona Poling Device A Setup Of

Smith Corona Sterling

Apple 666 Artemis Ipads Infertility Pads Project

In Vivo Protein Corona Patterns Of Lipid Nanoparticles

Corona Computer Corporationsystem Disk

Microsoft Xbox 360 Slim Trinity Et Corona V1

Vintage Smith Corona Sl500 5a Portable Electric Typewriter

Corona Computer Corporationsystem Disk

Corona Computer Corporationsystem Disk

Corona Computer Corporationsystem Disk

Structuur Van Koud Virus Stock Illustratie Illustratie

Olympia Standard Typewriter Repair

Corona Computer Corporationsystem Disk

Smith Corona Word Processor Typewriters Parts

Running In Circles

Vnx Su Electrical Wiring Diagrams Toyota Carina E

Embedded Projects Block Diagram Of Multistory Car Parking

Looking For Smith Corona Model Pwp 6000 Plus Office Repair

Toyota Corona Engine Coolant Temperature Sender Switch

Looking For Smith Corona Model Pwp 6000 Plus Office Repair

Aporte Guia Desde 0 Del Reset Glitch Hack

A Schematic Diagram Representing A Silica Nanoparticle

18 Diagram Of Musculature In Brachionus Manjavacas A

Schematic Diagram Of The Structure Of A Typical Quasar On

X360 Spiflasher Pr U00e9sentation Et Utilisation Du Module De

Smith Corona Typewriter Paper Feed Parts

In Vivo Protein Corona Patterns Of Lipid Nanoparticles

Space Clipart

Human Radiation Effects Group

Ozone Generator Circuit

Smith Corona Word Processor Typewriters Parts

Rgh 3 Dgx Install Tutorial Slims Only

Toyota Corona Switch Assembly Back-up Lamp

Corona Computer Corporationsystem Disk

Diagram Toyota Corona Computer Diagram

  • Download Toyota Corona Computer Diagram

    draw.io is free online diagram software for making flowcharts, process diagrams, org charts, UML, ER and network diagrams

    Open and edit diagrams online with Draw.io, a free diagram software supporting various formats and diagram types.

    Create a new diagram, or open an existing diagram in your new tab. To create a new diagram, enter a Diagram Name and click the location where you want to save the file.

    Create flowcharts and diagrams online with this easy to use software.

    Easily import diagrams from Lucidchart to diagrams.net or draw.io with this simple tool.

    Create and edit diagrams with draw.io, a free diagramming tool that integrates seamlessly with Office 365.

    Access and integrate Google Drive files with Draw.io using the Google Picker tool for seamless diagram creation.

    Clearing Cached version 29.3.4... OK Update Start App

    7.2 The Software will initiate transfers of data forming part of the Diagrams (“Diagram Data”) to services supplied by third parties when you expressly request conversion of Diagrams: a. to another supported file format; and b. to PDF format.

    "short_name": "draw.io", "description": "draw.io is a free diagram editor", "icons": [ { "src": ".. favicon.ico", "type": "image x icon", "sizes": "16x16 32x32" }, { "src": "icon 192.png", "type": "image png", "sizes": "192x192" }, { "src": "icon 512.png", "type": "image png", "sizes": "512x512" },

    3 way switch,3 way switch wiring,3 way switch wiring diagram pdf,3 way wiring diagram,3way switch wiring diagram,4 prong dryer outlet wiring diagram,4 prong trailer wiring diagram,6 way trailer wiring diagram,7 pin trailer wiring diagram with brakes,7 pin wiring diagram,alternator wiring diagram,amp wiring diagram,automotive lighting,cable harness,chevrolet,diagram,dodge,doorbell wiring diagram,ecobee wiring diagram,electric motor,electrical connector,electrical wiring,electrical wiring diagram,ford,fuse,honeywell thermostat wiring diagram,ignition system,kenwood car stereo wiring diagram,light switch wiring diagram,lighting,motor wiring diagram,nest doorbell wiring diagram,nest hello wiring diagram,nest labs,nest thermostat,nest thermostat wiring diagram,phone connector,pin,pioneer wiring diagram,plug wiring diagram,pump,radio,radio wiring diagram,relay,relay wiring diagram,resistor,rj45 wiring diagram,schematic,semi-trailer truck,sensor,seven pin trailer wiring diagram,speaker wiring diagram,starter wiring diagram,stereo wiring diagram,stereophonic sound,strat wiring diagram,switch,switch wiring diagram,telecaster wiring diagram,thermostat wiring,thermostat wiring diagram,trailer brake controller,trailer plug wiring diagram,trailer wiring diagram,user guide,wire,wire diagram,wiring diagram,wiring diagram 3 way switch,wiring harness

    close